首页
专利数据库
产业人才
行业动态
产业政策法规
维权援助
个人中心
登录/注册
详情
文本
图像
标题:
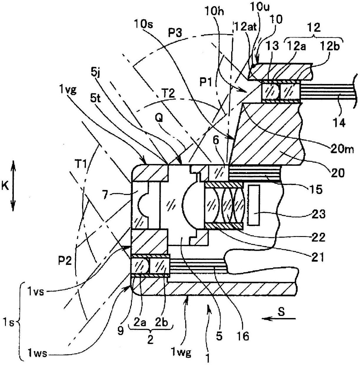
内窥镜
授权日:
1900-01-01
公开(公告)号:
CN102665529A
申请日:
2011-05-06
公开(公告)日:
2012-09-12
当前申请(专利权)人:
奥林巴斯株式会社
发明人:
本田一树 | 池田裕一 | 仓康人
简单同族:
CN102665529A | CN102665529B | EP2476362A1 | EP2476362A4 | EP2476362B1 | JP4955838B2 | JPWO2012005049A1 | US20120157773A1 | WO2012005049A1
简单同族成员数量:
9
简单同族被引用专利总数:
32
诉讼案件数:
0
法律状态/事件:
授权 | 权利转移