首页
专利数据库
产业人才
行业动态
产业政策法规
维权援助
个人中心
登录/注册
详情
文本
图像
标题:
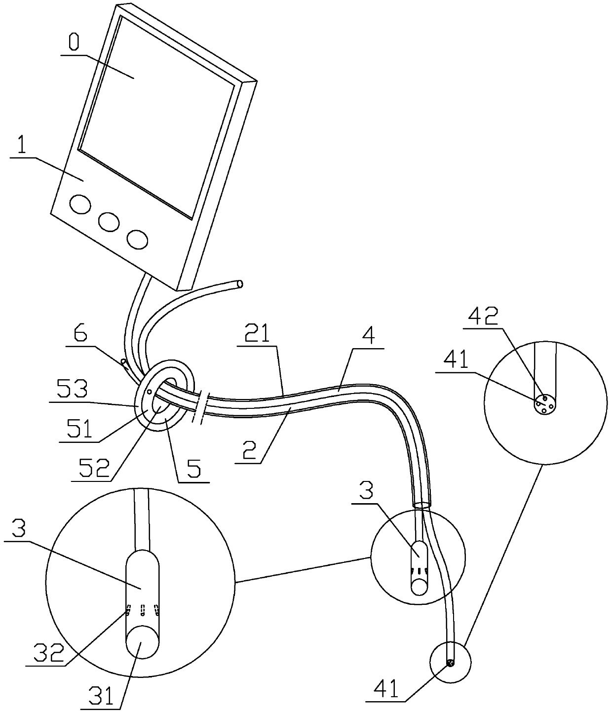
一种便携式术前胃容量检测及吸引一体化装置
授权日:
1900-01-01
公开(公告)号:
CN110946547A
申请日:
2019-12-27
公开(公告)日:
2020-04-03
当前申请(专利权)人:
温州医科大学附属第一医院
发明人:
耿武军 | 唐红丽 | 陈茜茜 | 李辉婷 | 黄珍鸯 | 黄宝骏
简单同族:
CN110946547A
简单同族成员数量:
1
简单同族被引用专利总数:
0
诉讼案件数:
0
法律状态/事件:
实质审查