首页
专利数据库
产业人才
行业动态
产业政策法规
维权援助
个人中心
登录/注册
详情
文本
图像
标题:
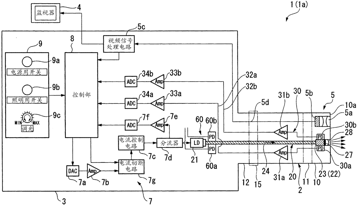
照明装置以及内窥镜装置
授权日:
2015-11-25
公开(公告)号:
CN102245080B
申请日:
2008-12-15
公开(公告)日:
2015-11-25
当前申请(专利权)人:
奥林巴斯株式会社
发明人:
小林英一
简单同族:
CN102245080A | CN102245080B | EP2371268A1 | EP2371268A4 | EP2371268B1 | JP5467052B2 | JPWO2010070720A1 | US20110245616A1 | WO2010070720A1
简单同族成员数量:
9
简单同族被引用专利总数:
54
诉讼案件数:
0
法律状态/事件:
授权