首页
专利数据库
产业人才
行业动态
产业政策法规
维权援助
个人中心
登录/注册
详情
文本
图像
标题:
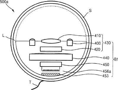
胶囊型图像摄影设备和使用所述设备的内窥镜诊断方法
授权日:
1900-01-01
公开(公告)号:
CN101594815A
申请日:
2007-11-21
公开(公告)日:
2009-12-02
当前申请(专利权)人:
科连株式会社
发明人:
李钟珍
简单同族:
CN101594815A | CN101594815B | EP2091406A1 | EP2091406A4 | EP2091406B1 | JP2010510024A | JP5485695B2 | KR100876647B1 | KR1020080046487A | US20100056864A1 | US8636650 | WO2008062997A1
简单同族成员数量:
12
简单同族被引用专利总数:
54
诉讼案件数:
0
法律状态/事件:
未缴年费