首页
专利数据库
产业人才
行业动态
产业政策法规
维权援助
个人中心
登录/注册
详情
文本
图像
标题:
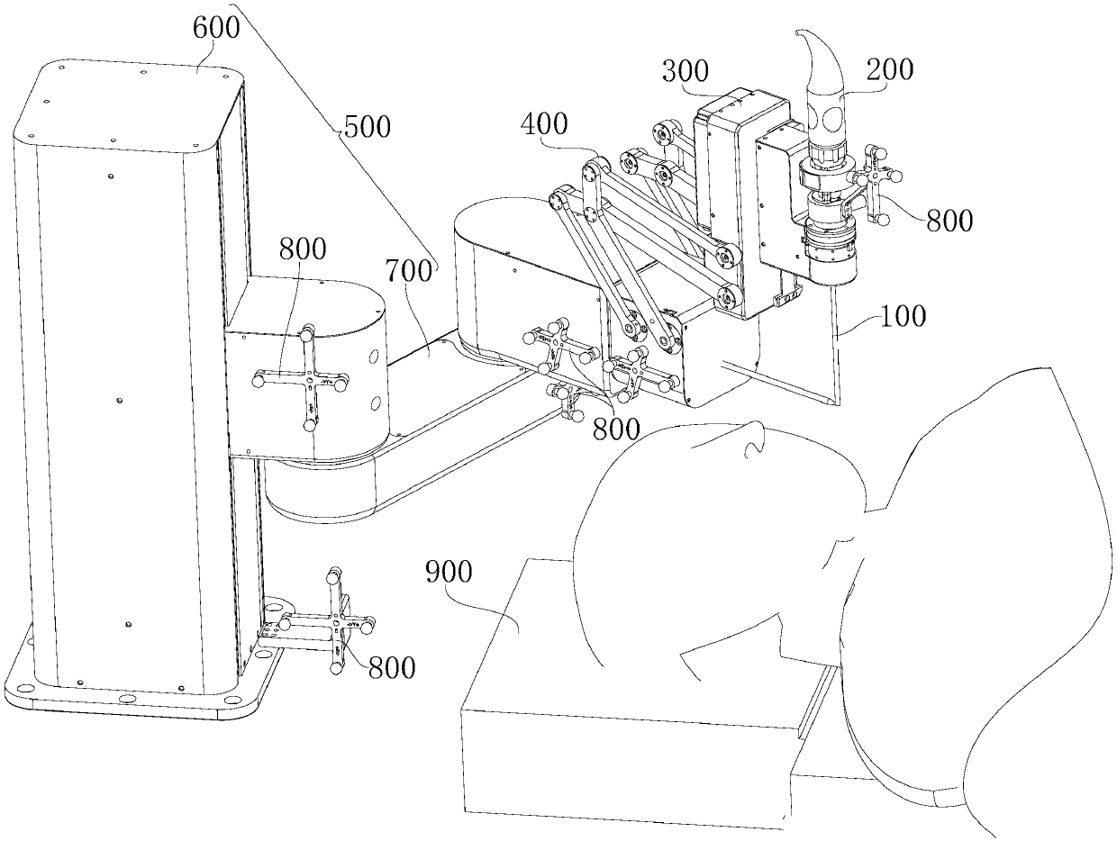
基于远端中心运动机构的持镜手术机器人
授权日:
1900-01-01
公开(公告)号:
CN110384555A
申请日:
2018-04-19
公开(公告)日:
2019-10-29
当前申请(专利权)人:
中国科学院深圳先进技术研究院
发明人:
何玉成 | 胡颖 | 张朋 | 靳海洋 | 郑清文 | 王瑞强 | 张建伟
简单同族:
CN110384555A
简单同族成员数量:
1
简单同族被引用专利总数:
0
诉讼案件数:
0
法律状态/事件:
实质审查