首页
专利数据库
产业人才
行业动态
产业政策法规
维权援助
个人中心
登录/注册
详情
文本
图像
标题:
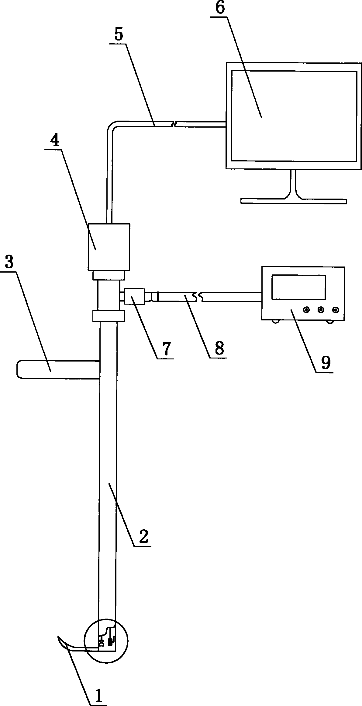
一种关节滑膜腔拉钩显微内窥镜系统
授权日:
2013-06-05
公开(公告)号:
CN202960450U
申请日:
2012-12-21
公开(公告)日:
2013-06-05
当前申请(专利权)人:
周嘉顺
发明人:
周嘉顺
简单同族:
CN202960450U
简单同族成员数量:
1
简单同族被引用专利总数:
0
诉讼案件数:
0
法律状态/事件:
未缴年费