标题:
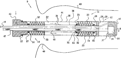
双套筒内窥镜
授权日:
1900-01-01
公开(公告)号:
CN1471372A
申请日:
2001-08-21
公开(公告)日:
2004-01-28
当前申请(专利权)人:
赛特莱恩技术有限公司
发明人:
雅各布·巴罗 | 米夏埃尔·沃洛申 | 达恩·奥兹
简单同族:
AU2001282467A1 | CA2421232A1 | CN1216565C | CN1471372A | EP1315445A2 | EP1315445A4 | EP1315445B1 | IL138237A | IL138237D0 | JP2004508082A | JP2004508082A5 | JP4875825B2 | US20040143161A1 | US7056283 | WO2002019886A2 | WO2002019886A3
简单同族成员数量:
16
简单同族被引用专利总数:
73
诉讼案件数:
0
法律状态/事件:
未缴年费