首页
专利数据库
产业人才
行业动态
产业政策法规
维权援助
个人中心
登录/注册
详情
文本
图像
标题:
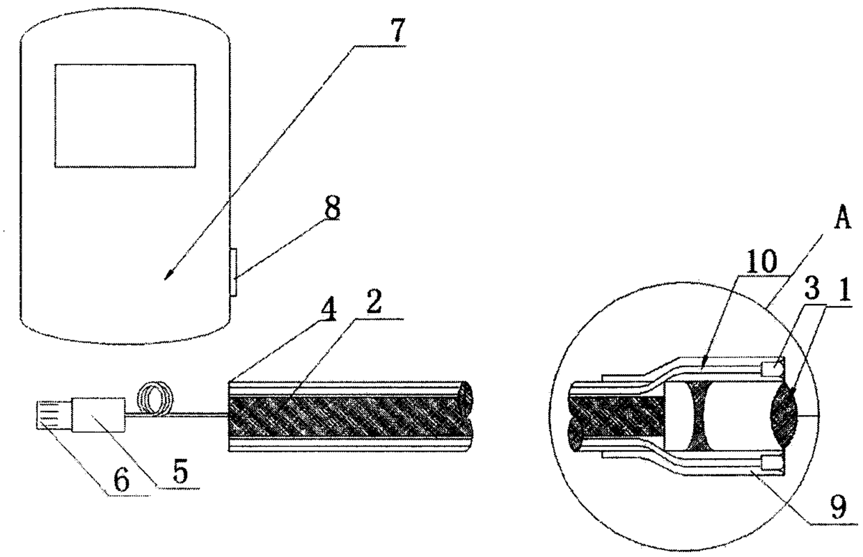
一种使用方便的简易内窥镜
授权日:
2016-01-06
公开(公告)号:
CN204931618U
申请日:
2015-09-07
公开(公告)日:
2016-01-06
当前申请(专利权)人:
杨心辉
发明人:
杨心辉 | 高龙关 | 叶小娣 | 周兆麒
简单同族:
CN204931618U
简单同族成员数量:
1
简单同族被引用专利总数:
0
诉讼案件数:
0
法律状态/事件:
授权