首页
专利数据库
产业人才
行业动态
产业政策法规
维权援助
个人中心
登录/注册
详情
文本
图像
标题:
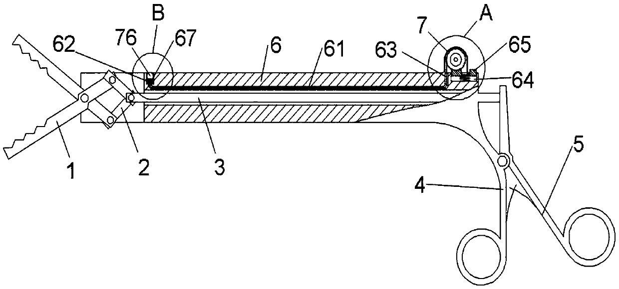
一种腹腔镜疝修补手术用夹钳
授权日:
2019-11-08
公开(公告)号:
CN209595846U
申请日:
2018-09-20
公开(公告)日:
2019-11-08
当前申请(专利权)人:
张晖
发明人:
张晖 | 王云华 | 王宁 | 王志 | 孟林 | 刘威 | 晏华武 | 李飞 | 胡春海 | 李嘉维 | 李林 | 苏治合 | 蒋宏玮
简单同族:
CN209595846U
简单同族成员数量:
1
简单同族被引用专利总数:
0
诉讼案件数:
0
法律状态/事件:
授权