首页
专利数据库
产业人才
行业动态
产业政策法规
维权援助
个人中心
登录/注册
详情
文本
图像
标题:
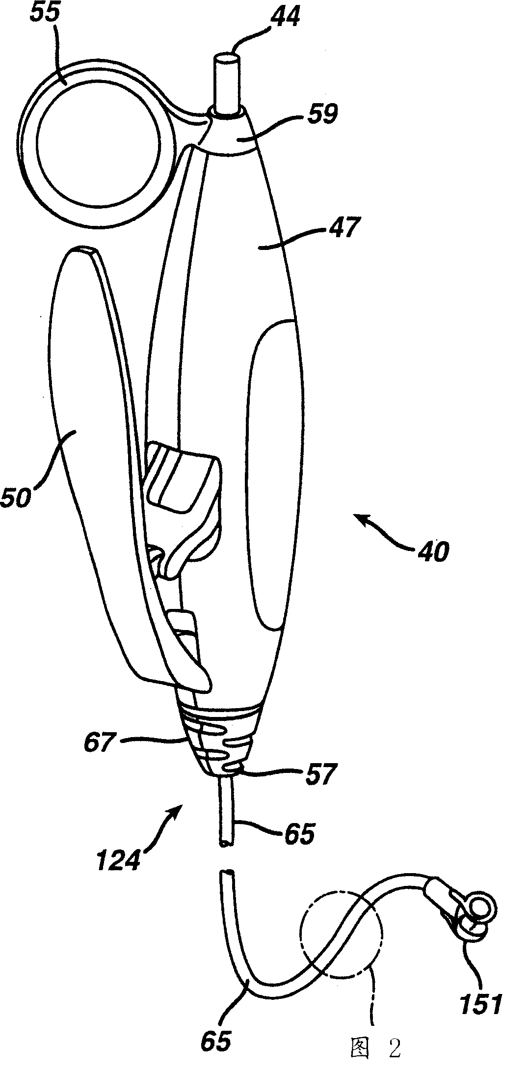
内窥镜装置的手柄
授权日:
2009-04-01
公开(公告)号:
CN100473323C
申请日:
2004-09-28
公开(公告)日:
2009-04-01
当前申请(专利权)人:
伊西康内外科公司
发明人:
R·诺比斯 | C·J·赫斯
简单同族:
AU2004216568A1 | AU2011201399A1 | AU2011201399B2 | CA2482733A1 | CA2482733C | CN100473323C | CN1602796A | EP1518492A1 | EP1518492B1 | JP2005131373A | JP4772309B2 | KR101054660B1 | KR1020050031449A | US20050070764A1 | US7789825
简单同族成员数量:
15
简单同族被引用专利总数:
187
诉讼案件数:
0
法律状态/事件:
授权