标题:
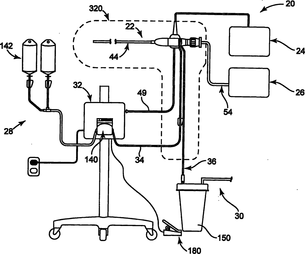
生物膜去除的系统和方法,包括与其一起使用的生物膜去除内窥镜
授权日:
2013-11-20
公开(公告)号:
CN101668474B
申请日:
2008-02-11
公开(公告)日:
2013-11-20
当前申请(专利权)人:
麦德托尼克艾克斯欧麦德股份有限公司
发明人:
D·E·斯兰科尔 | C·O·莱威斯 | G·W·诺曼 | J·R·普力斯科
简单同族:
AU2008219489A1 | AU2008219489B2 | CA2679537A1 | CA2679537C | CN101668474A | CN101668474B | EP2131719A1 | EP2131719B1 | ES2592320T3 | JP2010519962A | KR101437197B1 | KR1020090122362A | US20080214891A1 | US20120253125A1 | US8206349 | US8790301 | WO2008106298A1
简单同族成员数量:
17
简单同族被引用专利总数:
45
诉讼案件数:
0
法律状态/事件:
授权