首页
专利数据库
产业人才
行业动态
产业政策法规
维权援助
个人中心
登录/注册
详情
文本
图像
标题:
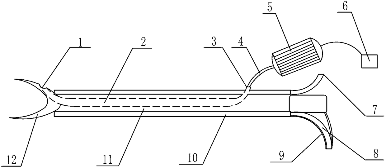
腹腔镜下吸引式电凝钳
授权日:
2013-07-03
公开(公告)号:
CN203029379U
申请日:
2013-01-14
公开(公告)日:
2013-07-03
当前申请(专利权)人:
吴光伟
发明人:
吴光伟 | 徐峰
简单同族:
CN203029379U
简单同族成员数量:
1
简单同族被引用专利总数:
0
诉讼案件数:
0
法律状态/事件:
未缴年费