首页
专利数据库
产业人才
行业动态
产业政策法规
维权援助
个人中心
登录/注册
详情
文本
图像
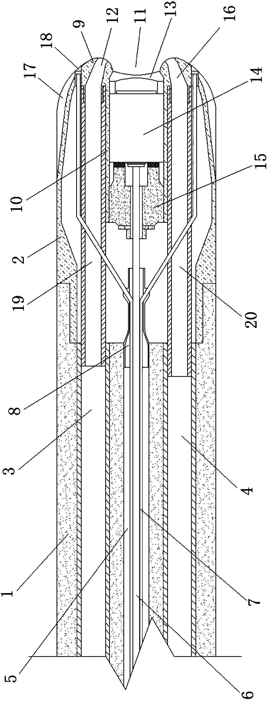
标题:
一种泌尿道检查用内窥镜
授权日:
2019-04-26
公开(公告)号:
CN208784694U
申请日:
2017-12-28
公开(公告)日:
2019-04-26
当前申请(专利权)人:
武汉功匠内窥镜设备有限公司
发明人:
刘得元
简单同族:
CN208784694U
简单同族成员数量:
1
简单同族被引用专利总数:
0
诉讼案件数:
0
法律状态/事件:
授权