首页
专利数据库
产业人才
行业动态
产业政策法规
维权援助
个人中心
登录/注册
详情
文本
图像
标题:
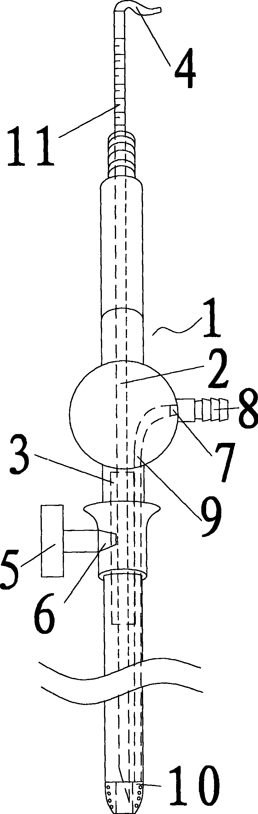
腹腔镜吸引针
授权日:
2015-07-29
公开(公告)号:
CN204502042U
申请日:
2015-04-02
公开(公告)日:
2015-07-29
当前申请(专利权)人:
余军辉
发明人:
余军辉 | 王凯 | 陈海琴 | 洪春英 | 陈婧
简单同族:
CN204502042U
简单同族成员数量:
1
简单同族被引用专利总数:
0
诉讼案件数:
0
法律状态/事件:
未缴年费