首页
专利数据库
产业人才
行业动态
产业政策法规
维权援助
个人中心
登录/注册
详情
文本
图像
标题:
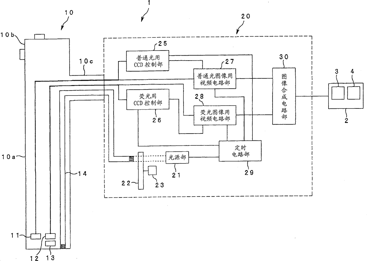
内窥镜装置
授权日:
2012-08-08
公开(公告)号:
CN101188965B
申请日:
2006-06-05
公开(公告)日:
2012-08-08
当前申请(专利权)人:
奥林巴斯株式会社
发明人:
高杉启 | 金子和真
简单同族:
CN101188965A | CN101188965B | EP1889563A1 | EP1889563A4 | EP1889563B1 | KR100927286B1 | KR1020080014844A | US20090118578A1 | US8690765 | WO2006132191A1
简单同族成员数量:
10
简单同族被引用专利总数:
96
诉讼案件数:
0
法律状态/事件:
授权 | 权利转移