首页
专利数据库
产业人才
行业动态
产业政策法规
维权援助
个人中心
登录/注册
详情
文本
图像
标题:
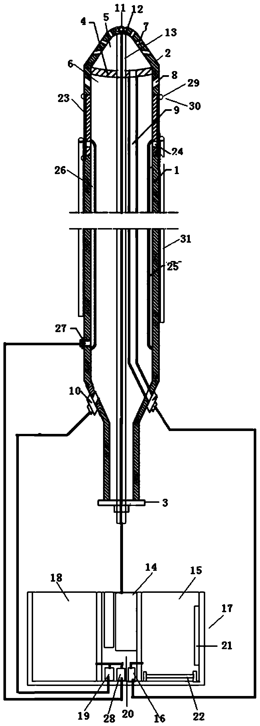
一种设有内窥镜的阴道清洗器
授权日:
1900-01-01
公开(公告)号:
CN110215555A
申请日:
2019-06-05
公开(公告)日:
2019-09-10
当前申请(专利权)人:
吉林大学
发明人:
刘影 | 汤玉环 | 韩东梅 | 程光惠
简单同族:
CN110215555A
简单同族成员数量:
1
简单同族被引用专利总数:
0
诉讼案件数:
0
法律状态/事件:
实质审查