首页
专利数据库
产业人才
行业动态
产业政策法规
维权援助
个人中心
登录/注册
详情
文本
图像
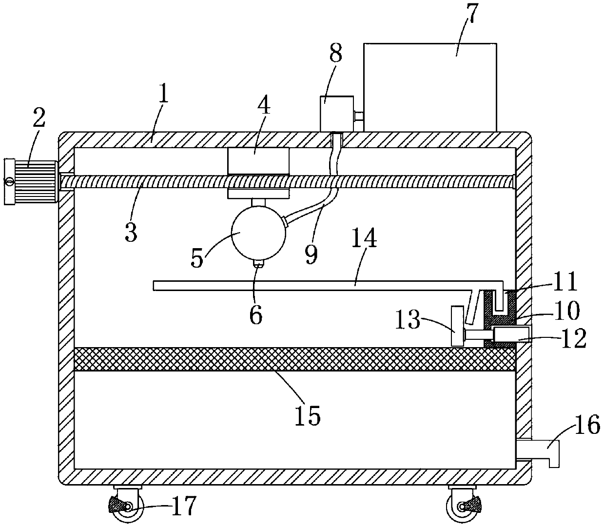
标题:
一种胸腹腔镜手术器械用清洁装置
授权日:
2020-04-07
公开(公告)号:
CN210250109U
申请日:
2019-05-21
公开(公告)日:
2020-04-07
当前申请(专利权)人:
贵州医科大学附属医院
发明人:
胡朝全 | 杨能红 | 李前进
简单同族:
CN210250109U
简单同族成员数量:
1
简单同族被引用专利总数:
0
诉讼案件数:
0
法律状态/事件:
授权