首页
专利数据库
产业人才
行业动态
产业政策法规
维权援助
个人中心
登录/注册
详情
文本
图像
标题:
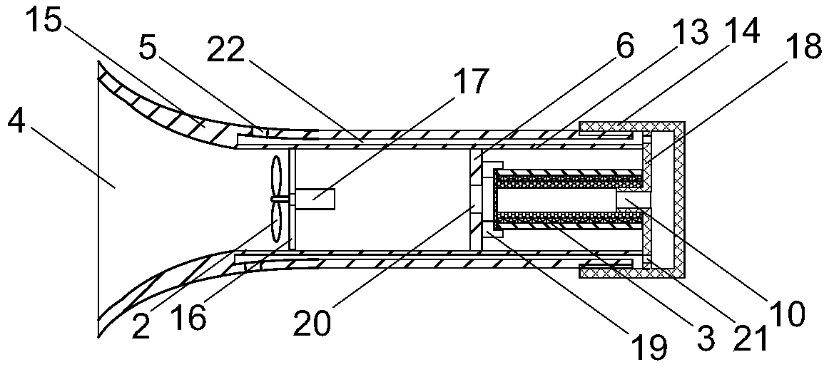
一种腹腔镜手术烟雾净化器
授权日:
2020-04-21
公开(公告)号:
CN210354891U
申请日:
2018-10-21
公开(公告)日:
2020-04-21
当前申请(专利权)人:
杭州市第一人民医院
发明人:
贾忠 | 黄佳清 | 贾辰洁 | 万亚锋 | 陆军
简单同族:
CN210354891U
简单同族成员数量:
1
简单同族被引用专利总数:
0
诉讼案件数:
0
法律状态/事件:
授权