首页
专利数据库
产业人才
行业动态
产业政策法规
维权援助
个人中心
登录/注册
详情
文本
图像
标题:
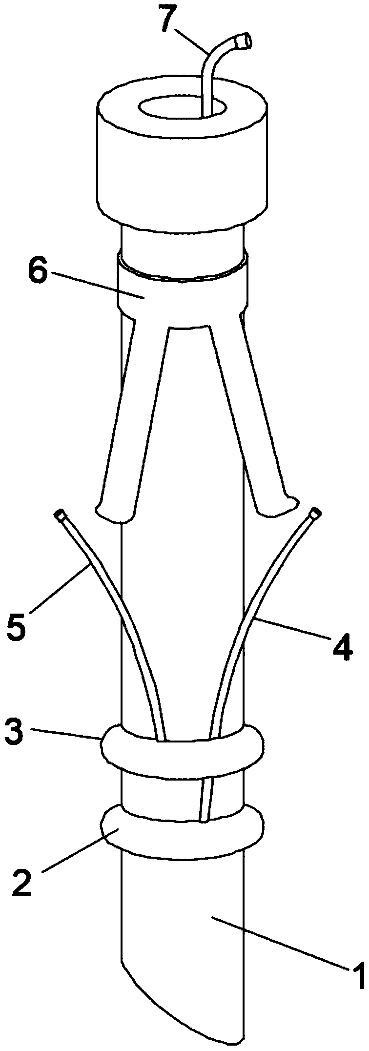
一种腹腔镜穿刺鞘
授权日:
2019-12-27
公开(公告)号:
CN209847332U
申请日:
2019-04-18
公开(公告)日:
2019-12-27
当前申请(专利权)人:
昆明医科大学第二附属医院
发明人:
廖陈 | 吴雪松 | 唐辉蓉 | 唐浩然 | 张家骅
简单同族:
CN209847332U
简单同族成员数量:
1
简单同族被引用专利总数:
0
诉讼案件数:
0
法律状态/事件:
授权