首页
专利数据库
产业人才
行业动态
产业政策法规
维权援助
个人中心
登录/注册
详情
文本
图像
标题:
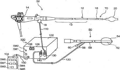
气囊式内窥镜
授权日:
2009-08-05
公开(公告)号:
CN100522043C
申请日:
2004-05-11
公开(公告)日:
2009-08-05
当前申请(专利权)人:
富士胶片株式会社 | SRJ公司
发明人:
关口正
简单同族:
CN100522043C | CN101785656A | CN101785656B | CN1550203A | DE102004023457A1 | DE102004023457B4
简单同族成员数量:
6
简单同族被引用专利总数:
82
诉讼案件数:
0
法律状态/事件:
授权 | 权利转移