首页
专利数据库
产业人才
行业动态
产业政策法规
维权援助
个人中心
登录/注册
详情
文本
图像
标题:
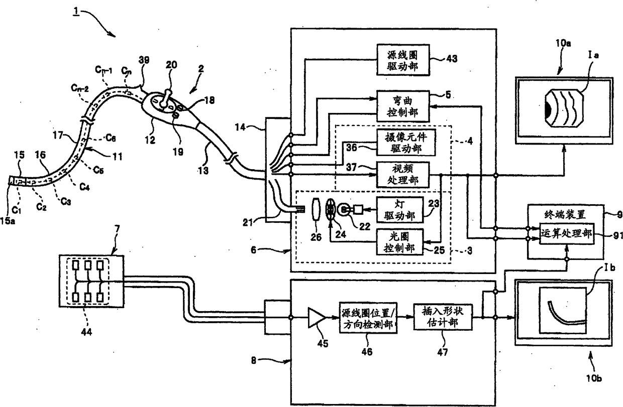
内窥镜系统
授权日:
1900-01-01
公开(公告)号:
CN102123651A
申请日:
2009-10-08
公开(公告)日:
2011-07-13
当前申请(专利权)人:
奥林巴斯株式会社
发明人:
田中秀树
简单同族:
CN102123651A | CN102123651B | EP2301411A1 | EP2301411A4 | EP2301411B1 | JP4585048B2 | JPWO2010082383A1 | US20100298641A1 | US8167791 | WO2010082383A1
简单同族成员数量:
10
简单同族被引用专利总数:
60
诉讼案件数:
0
法律状态/事件:
授权 | 权利转移