首页
专利数据库
产业人才
行业动态
产业政策法规
维权援助
个人中心
登录/注册
详情
文本
图像
标题:
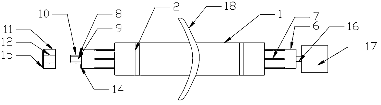
一种新型腹腔镜
授权日:
2019-09-27
公开(公告)号:
CN209437219U
申请日:
2018-11-02
公开(公告)日:
2019-09-27
当前申请(专利权)人:
无锡市瑞源普斯医疗器械有限公司
发明人:
许叶鹏 | 薛小强 | 王昊 | 许晓年
简单同族:
CN209437219U
简单同族成员数量:
1
简单同族被引用专利总数:
0
诉讼案件数:
0
法律状态/事件:
授权