首页
专利数据库
产业人才
行业动态
产业政策法规
维权援助
个人中心
登录/注册
详情
文本
图像
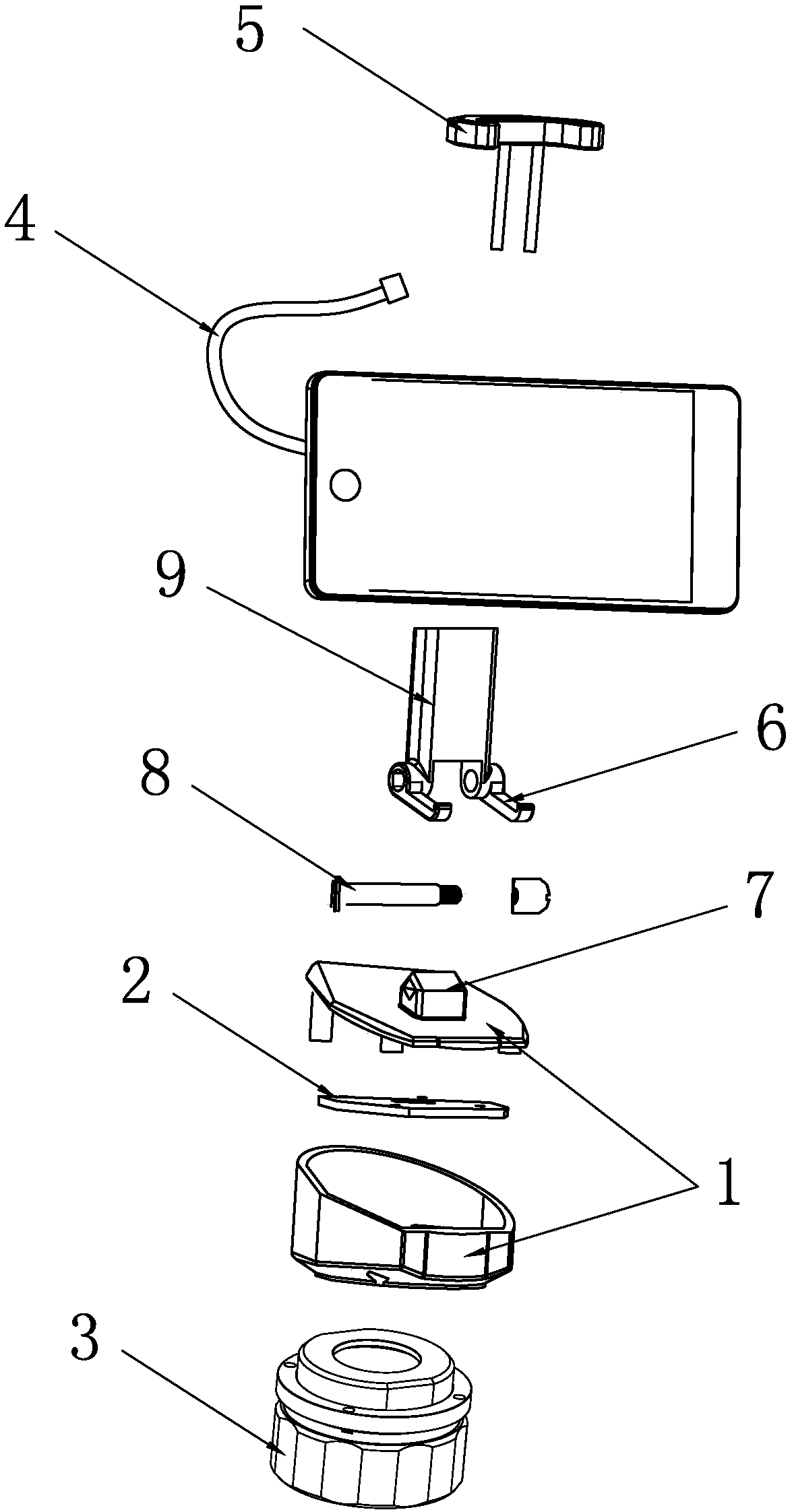
标题:
一种内窥镜显示装置
授权日:
2019-01-22
公开(公告)号:
CN208404501U
申请日:
2017-08-07
公开(公告)日:
2019-01-22
当前申请(专利权)人:
珠海迈德豪医用科技有限公司
发明人:
陈方君 | 邱联浩 | 谢锐亮 | 刘浪
简单同族:
CN208404501U
简单同族成员数量:
1
简单同族被引用专利总数:
0
诉讼案件数:
0
法律状态/事件:
授权