首页
专利数据库
产业人才
行业动态
产业政策法规
维权援助
个人中心
登录/注册
详情
文本
图像
标题:
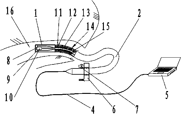
一种带复合结构导管的内窥镜
授权日:
2015-08-26
公开(公告)号:
CN204581213U
申请日:
2015-02-11
公开(公告)日:
2015-08-26
当前申请(专利权)人:
南京工业职业技术学院
发明人:
彭复明 | 白顺科 | 崔群
简单同族:
CN204581213U
简单同族成员数量:
1
简单同族被引用专利总数:
0
诉讼案件数:
0
法律状态/事件:
未缴年费