首页
专利数据库
产业人才
行业动态
产业政策法规
维权援助
个人中心
登录/注册
详情
文本
图像
标题:
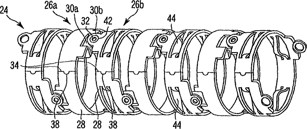
内窥镜弯曲部
授权日:
2012-05-23
公开(公告)号:
CN101677752B
申请日:
2008-01-21
公开(公告)日:
2012-05-23
当前申请(专利权)人:
奥林巴斯株式会社
发明人:
北川英哉
简单同族:
CN101677752A | CN101677752B | DE112008001472T5 | JP2008295774A | US20100056868A1 | WO2008146497A1
简单同族成员数量:
6
简单同族被引用专利总数:
45
诉讼案件数:
0
法律状态/事件:
未缴年费