首页
专利数据库
产业人才
行业动态
产业政策法规
维权援助
个人中心
登录/注册
详情
文本
图像
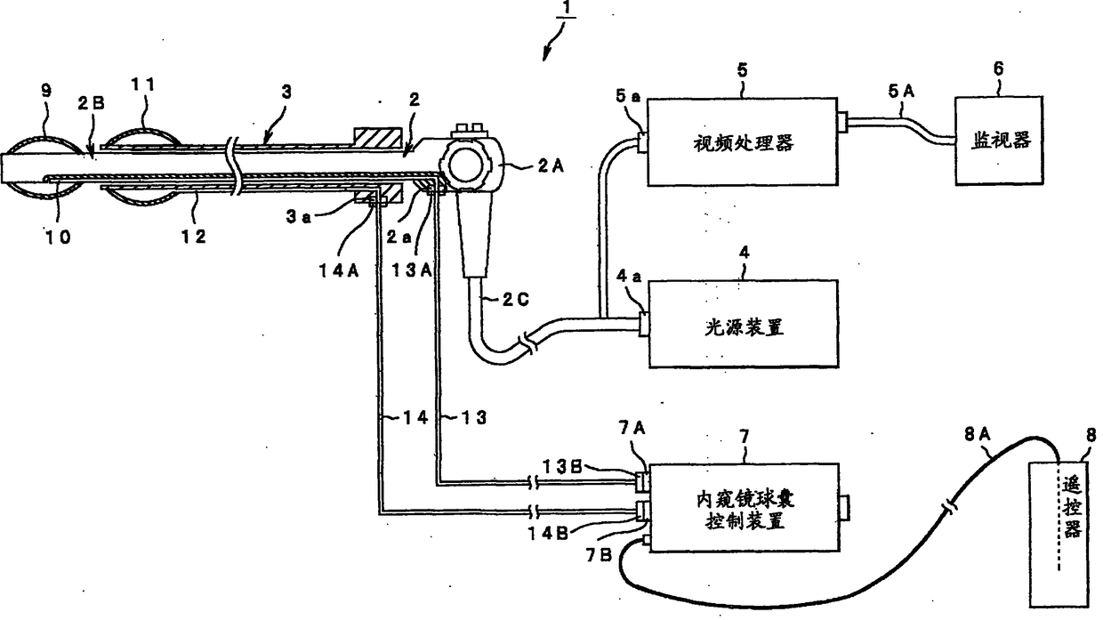
标题:
内窥镜球囊控制装置
授权日:
2011-07-13
公开(公告)号:
CN1946330B
申请日:
2005-04-07
公开(公告)日:
2011-07-13
当前申请(专利权)人:
奥林巴斯株式会社
发明人:
吉田尊俊 | 内村澄洋 | 谷口明
简单同族:
CN102217925A | CN102217925B | CN1946330A | CN1946330B | DE602005025095D1 | EP1731084A1 | EP1731084A4 | EP1731084B1 | EP2110068A1 | EP2110068B1 | JP2005296258A | JP2005296258A5 | JP4409340B2 | US20070055101A1 | US8096942 | WO2005096913A1
简单同族成员数量:
16
简单同族被引用专利总数:
34
诉讼案件数:
0
法律状态/事件:
授权