首页
专利数据库
产业人才
行业动态
产业政策法规
维权援助
个人中心
登录/注册
详情
文本
图像
标题:
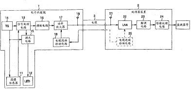
电子内窥镜装置
授权日:
1900-01-01
公开(公告)号:
CN101288581A
申请日:
2008-04-18
公开(公告)日:
2008-10-22
当前申请(专利权)人:
奥林巴斯医疗株式会社
发明人:
仁井田巧一 | 本多武道 | 山下真司 | 齐藤克行
简单同族:
CN101288581A | EP1982639A2 | JP2008264252A | KR1020080094555A | US20080262299A1
简单同族成员数量:
5
简单同族被引用专利总数:
40
诉讼案件数:
0
法律状态/事件:
撤回