首页
专利数据库
产业人才
行业动态
产业政策法规
维权援助
个人中心
登录/注册
详情
文本
图像
标题:
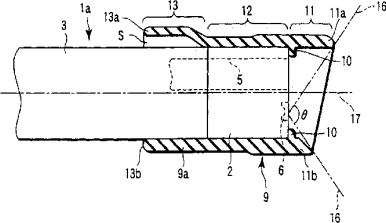
内窥镜罩
授权日:
1900-01-01
公开(公告)号:
CN1511007A
申请日:
2003-02-05
公开(公告)日:
2004-07-07
当前申请(专利权)人:
奥林巴斯株式会社
发明人:
森山宏树
简单同族:
CN1296005C | CN1511007A | JP2003230531A | JP3826045B2 | US20040077926A1 | US6916284 | WO2003065884A1
简单同族成员数量:
7
简单同族被引用专利总数:
181
诉讼案件数:
0
法律状态/事件:
未缴年费