首页
专利数据库
产业人才
行业动态
产业政策法规
维权援助
个人中心
登录/注册
详情
文本
图像
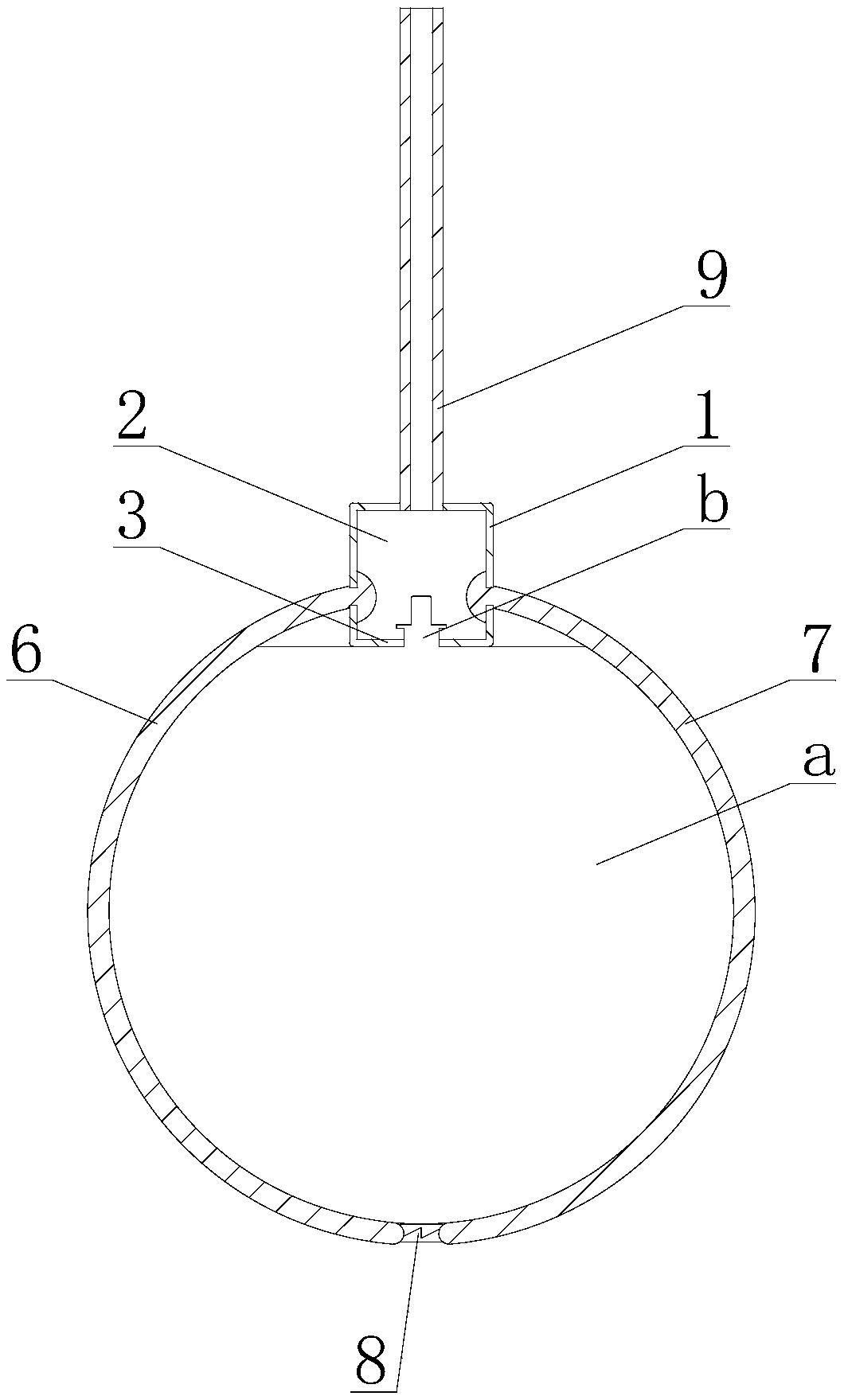
标题:
与内窥镜辅助送水接头配合的接头结构
授权日:
2020-02-18
公开(公告)号:
CN210077612U
申请日:
2019-04-28
公开(公告)日:
2020-02-18
当前申请(专利权)人:
重庆金山医疗器械有限公司
发明人:
彭章杰 | 童万里 | 覃浪 | 张志良 | 肖建明
简单同族:
CN210077612U
简单同族成员数量:
1
简单同族被引用专利总数:
0
诉讼案件数:
0
法律状态/事件:
授权