首页
专利数据库
产业人才
行业动态
产业政策法规
维权援助
个人中心
登录/注册
详情
文本
图像
标题:
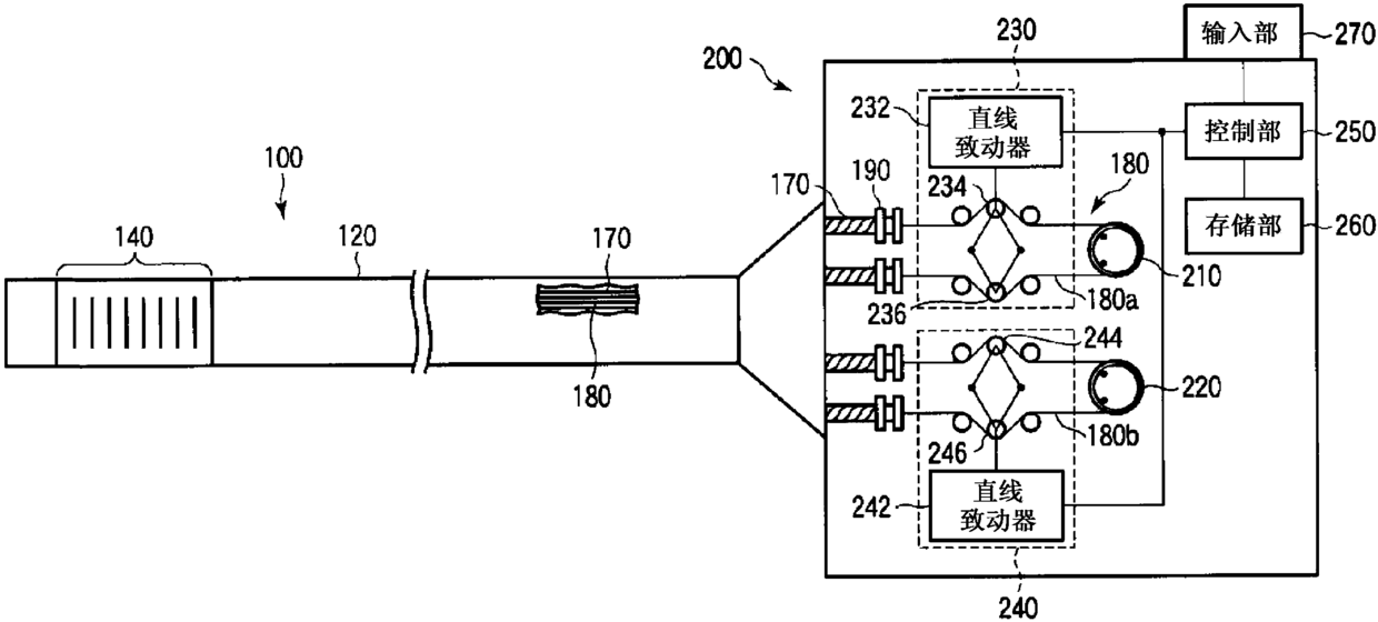
内窥镜系统
授权日:
2015-03-25
公开(公告)号:
CN102770060B
申请日:
2010-10-29
公开(公告)日:
2015-03-25
当前申请(专利权)人:
奥林巴斯株式会社
发明人:
内藤公彦
简单同族:
CN102770060A | CN102770060B | EP2517613A1 | EP2517613A4 | EP2517613B1 | JP5048158B2 | JPWO2011114568A1 | US20120046522A1 | US8915841 | WO2011114568A1
简单同族成员数量:
10
简单同族被引用专利总数:
83
诉讼案件数:
0
法律状态/事件:
授权 | 权利转移