首页
专利数据库
产业人才
行业动态
产业政策法规
维权援助
个人中心
登录/注册
详情
文本
图像
标题:
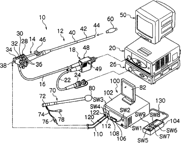
内窥镜装置及其操作方法
授权日:
2008-11-12
公开(公告)号:
CN100431476C
申请日:
2005-11-09
公开(公告)日:
2008-11-12
当前申请(专利权)人:
富士能株式会社
发明人:
町田光则
简单同族:
CN100431476C | CN1771880A | EP1654977A1 | EP1654977B1 | JP2006130207A | JP4149987B2 | US20060111610A1 | US8012084
简单同族成员数量:
8
简单同族被引用专利总数:
121
诉讼案件数:
0
法律状态/事件:
授权