首页
专利数据库
产业人才
行业动态
产业政策法规
维权援助
个人中心
登录/注册
详情
文本
图像
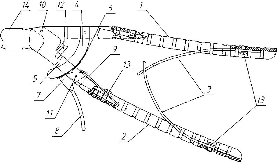
标题:
腹腔镜手术缝合钳的控制装置
授权日:
2014-06-25
公开(公告)号:
CN203662821U
申请日:
2013-11-22
公开(公告)日:
2014-06-25
当前申请(专利权)人:
杭州桐庐时空候医疗器械有限公司
发明人:
徐生源
简单同族:
CN203662821U
简单同族成员数量:
1
简单同族被引用专利总数:
0
诉讼案件数:
0
法律状态/事件:
未缴年费