首页
专利数据库
产业人才
行业动态
产业政策法规
维权援助
个人中心
登录/注册
详情
文本
图像
标题:
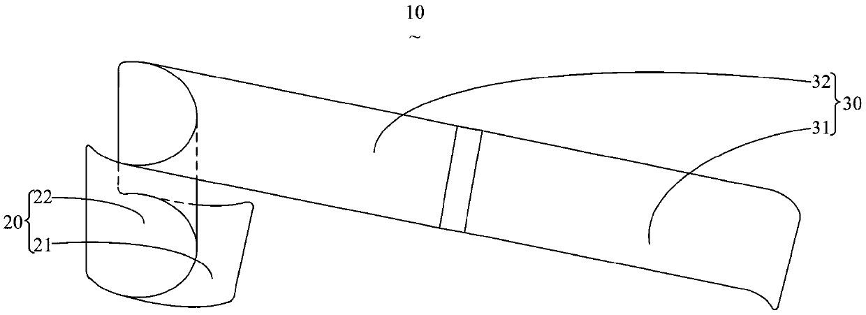
防止脐正中韧带受伤的腹腔镜戳卡专用拉钩
授权日:
2019-10-08
公开(公告)号:
CN209464027U
申请日:
2018-12-29
公开(公告)日:
2019-10-08
当前申请(专利权)人:
王键
发明人:
王键 | 王建宏 | 杨晓亮 | 黄冬梅 | 王延璞 | 刘堂明 | 王向红
简单同族:
CN209464027U
简单同族成员数量:
1
简单同族被引用专利总数:
0
诉讼案件数:
0
法律状态/事件:
授权