首页
专利数据库
产业人才
行业动态
产业政策法规
维权援助
个人中心
登录/注册
详情
文本
图像
标题:
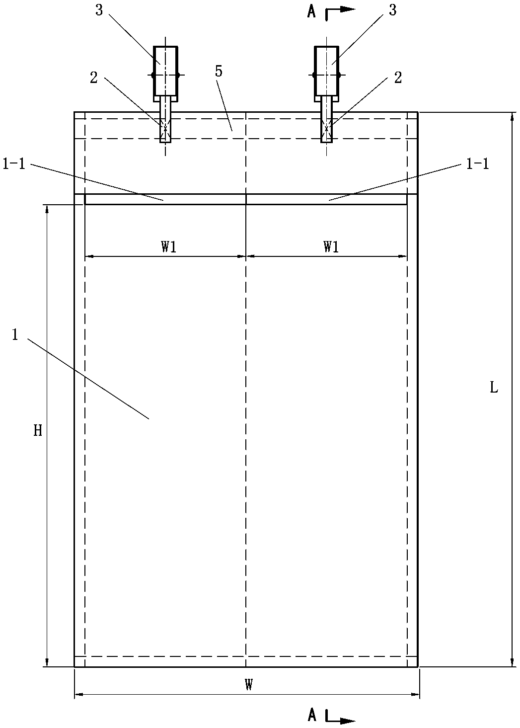
腹腔镜手术器械的放置袋
授权日:
1900-01-01
公开(公告)号:
CN105816244A
申请日:
2016-05-27
公开(公告)日:
2016-08-03
当前申请(专利权)人:
孙冬林
发明人:
孙冬林 | 陈学敏 | 蒋红媛 | 江勇 | 邬迪 | 蔡辉华
简单同族:
CN105816244A
简单同族成员数量:
1
简单同族被引用专利总数:
0
诉讼案件数:
0
法律状态/事件:
撤回