首页
专利数据库
产业人才
行业动态
产业政策法规
维权援助
个人中心
登录/注册
详情
文本
图像
标题:
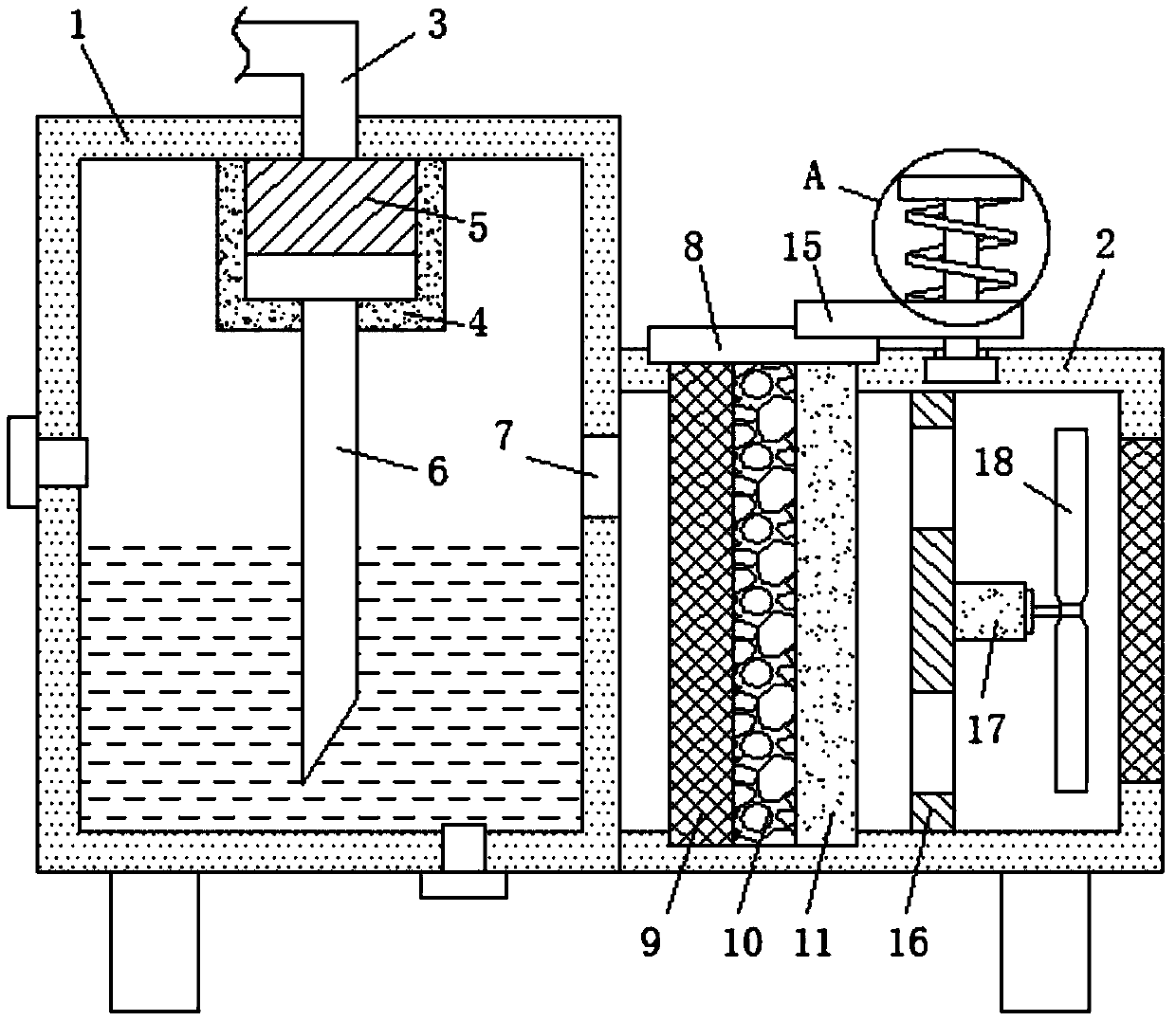
一种腹腔镜手术烟雾净化器
授权日:
2019-08-23
公开(公告)号:
CN209285591U
申请日:
2018-12-29
公开(公告)日:
2019-08-23
当前申请(专利权)人:
遵义市第一人民医院
发明人:
骆礼波 | 陈正权 | 贺婕 | 周昕 | 陈宸 | 刘道生
简单同族:
CN209285591U
简单同族成员数量:
1
简单同族被引用专利总数:
0
诉讼案件数:
0
法律状态/事件:
授权