首页
专利数据库
产业人才
行业动态
产业政策法规
维权援助
个人中心
登录/注册
详情
文本
图像
标题:
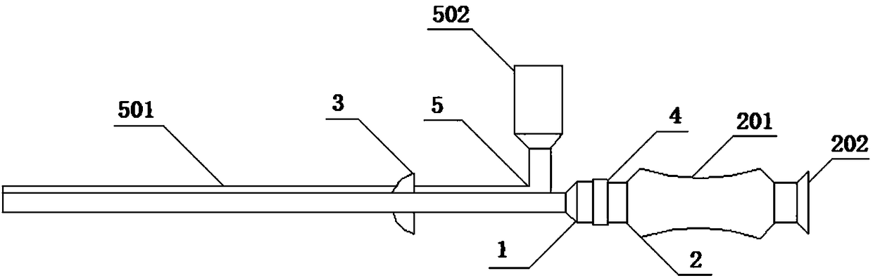
一种用于阑尾炎手术的内窥镜
授权日:
2017-11-17
公开(公告)号:
CN206641868U
申请日:
2016-12-30
公开(公告)日:
2017-11-17
当前申请(专利权)人:
蒙炳杰
发明人:
蒙炳杰 | 聂友琳
简单同族:
CN206641868U
简单同族成员数量:
1
简单同族被引用专利总数:
0
诉讼案件数:
0
法律状态/事件:
授权