首页
专利数据库
产业人才
行业动态
产业政策法规
维权援助
个人中心
登录/注册
详情
文本
图像
标题:
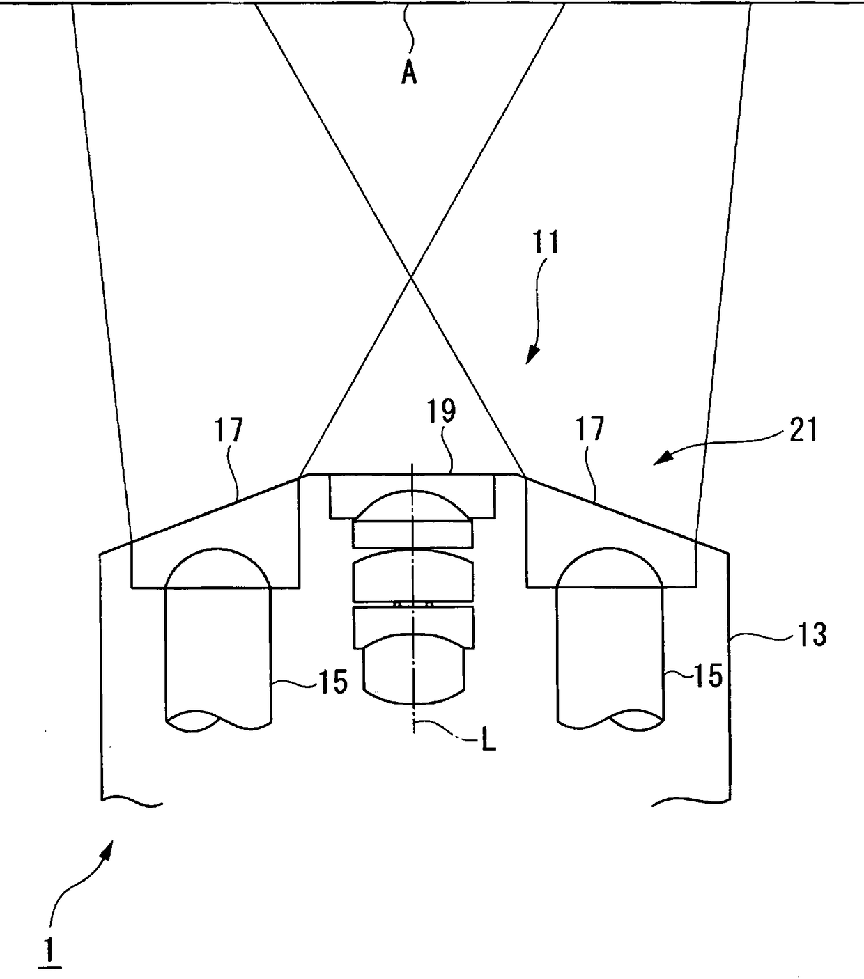
内窥镜
授权日:
1900-01-01
公开(公告)号:
CN102316783A
申请日:
2010-02-17
公开(公告)日:
2012-01-11
当前申请(专利权)人:
奥林巴斯株式会社
发明人:
加藤贵之 | 伊藤光一郎
简单同族:
CN102316783A | CN102316783B | EP2415386A1 | EP2415386A4 | EP2415386B1 | JP4777482B2 | JPWO2010113550A1 | US20110157574A1 | US8123680 | WO2010113550A1
简单同族成员数量:
10
简单同族被引用专利总数:
53
诉讼案件数:
0
法律状态/事件:
授权 | 权利转移