首页
专利数据库
产业人才
行业动态
产业政策法规
维权援助
个人中心
登录/注册
详情
文本
图像
标题:
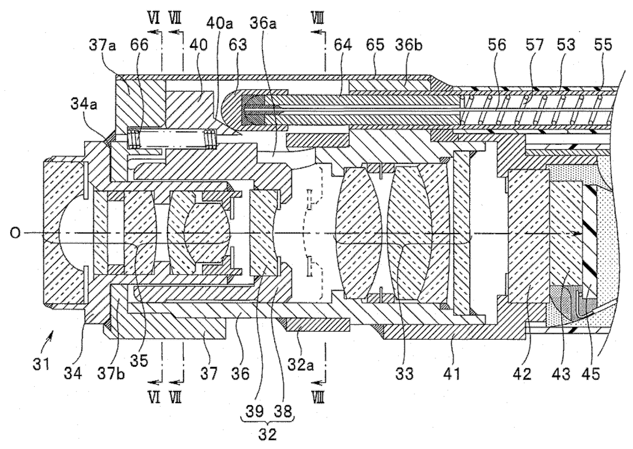
内窥镜用摄像单元
授权日:
1900-01-01
公开(公告)号:
CN102213829A
申请日:
2009-09-08
公开(公告)日:
2011-10-12
当前申请(专利权)人:
奥林巴斯株式会社
发明人:
口丸亨 | 酒井诚二
简单同族:
CN101672980A | CN101672980B | CN102213829A | CN102213829B | EP2161606A1 | EP2161606B1 | EP2296028A1 | EP2296028B1 | JP2010063491A | JP5289870B2 | US20100063361A1 | US20130107025A1 | US8360965 | US8936546
简单同族成员数量:
14
简单同族被引用专利总数:
33
诉讼案件数:
0
法律状态/事件:
授权 | 权利转移