首页
专利数据库
产业人才
行业动态
产业政策法规
维权援助
个人中心
登录/注册
详情
文本
图像
标题:
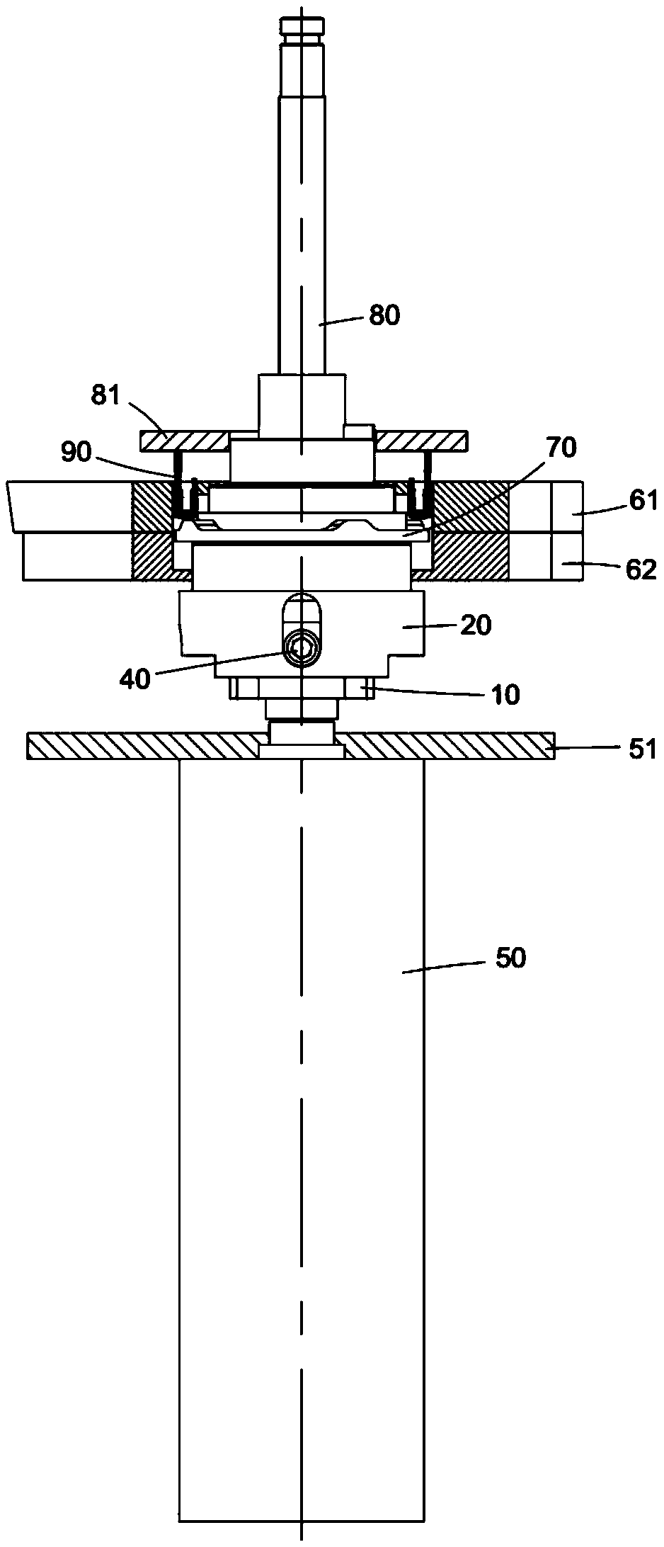
一种用于腹腔镜手术机器人器械的连接机构
授权日:
2020-02-21
公开(公告)号:
CN210095906U
申请日:
2019-04-01
公开(公告)日:
2020-02-21
当前申请(专利权)人:
哈尔滨思哲睿智能医疗设备有限公司
发明人:
杜志江 | 闫志远 | 陈霖 | 刘龙
简单同族:
CN210095906U
简单同族成员数量:
1
简单同族被引用专利总数:
0
诉讼案件数:
0
法律状态/事件:
授权