首页
专利数据库
产业人才
行业动态
产业政策法规
维权援助
个人中心
登录/注册
详情
文本
图像
标题:
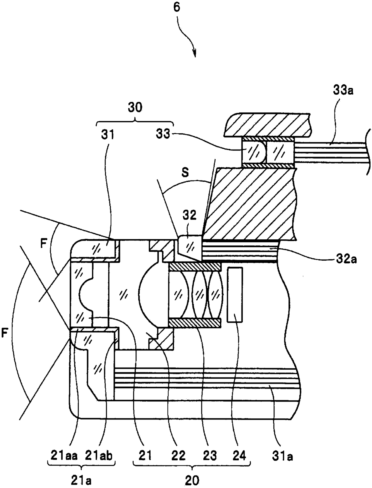
内窥镜
授权日:
1900-01-01
公开(公告)号:
CN104203070A
申请日:
2013-10-30
公开(公告)日:
2014-12-10
当前申请(专利权)人:
奥林巴斯株式会社
发明人:
本田一树 | 池田裕一 | 进士翔
简单同族:
CN104203070A | CN104203070B | EP2815691A1 | EP2815691A4 | JP5596889B1 | JPWO2014073426A1 | US20140347878A1 | US9122067 | WO2014073426A1
简单同族成员数量:
9
简单同族被引用专利总数:
35
诉讼案件数:
0
法律状态/事件:
授权 | 权利转移