首页
专利数据库
产业人才
行业动态
产业政策法规
维权援助
个人中心
登录/注册
详情
文本
图像
标题:
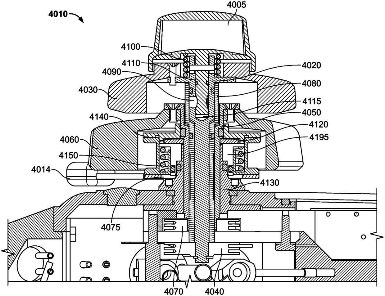
具有制动系统的内窥镜控制单元
授权日:
1900-01-01
公开(公告)号:
CN105377106A
申请日:
2014-05-15
公开(公告)日:
2016-03-02
当前申请(专利权)人:
恩多巧爱思股份有限公司
发明人:
A.兰格 | S.威思
简单同族:
CN105377106A | EP2996536A2 | JP2016519964A | US20140343489A1 | WO2014186519A2 | WO2014186519A3
简单同族成员数量:
6
简单同族被引用专利总数:
31
诉讼案件数:
0
法律状态/事件:
撤回