首页
专利数据库
产业人才
行业动态
产业政策法规
维权援助
个人中心
登录/注册
详情
文本
图像
标题:
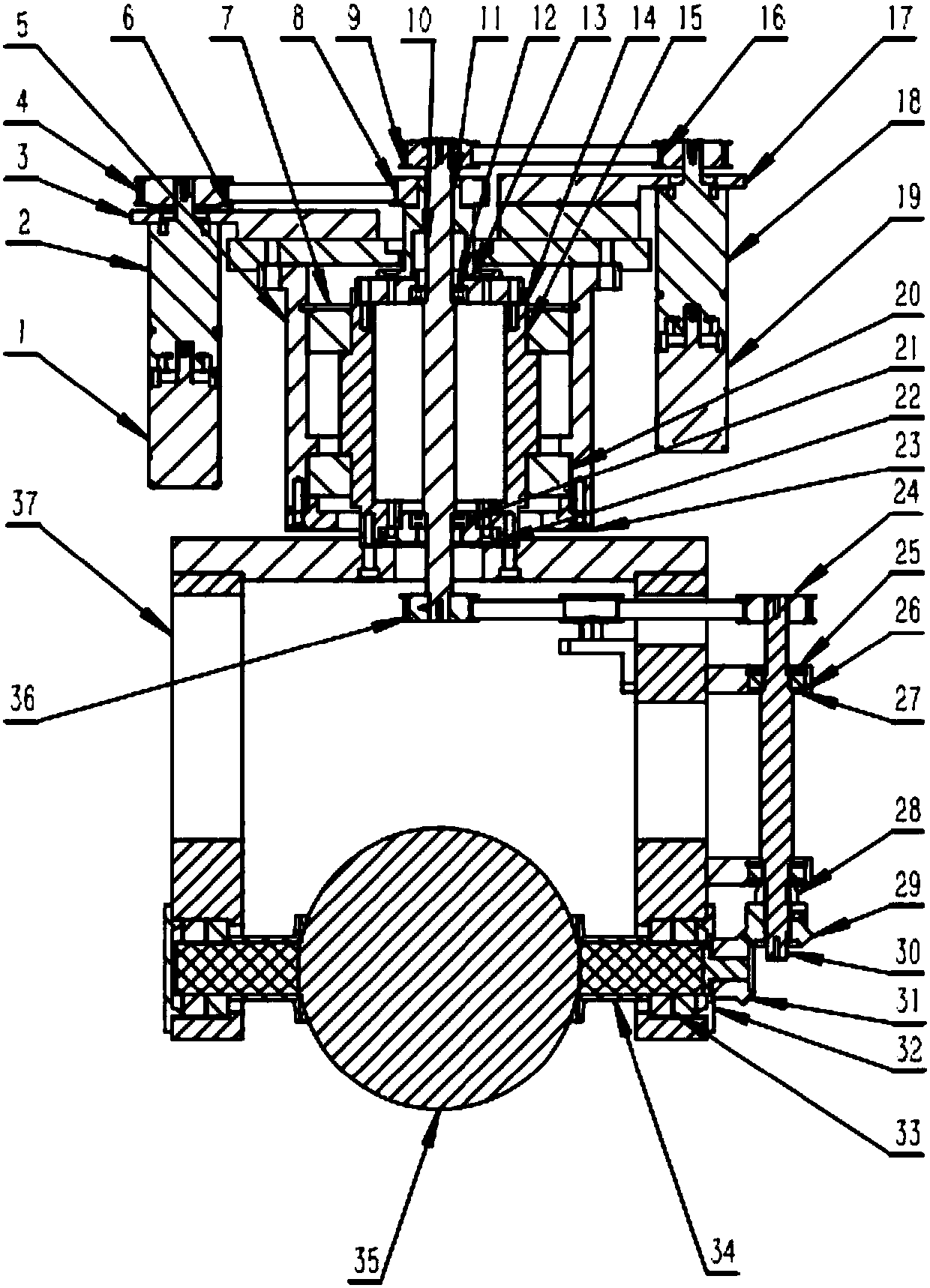
一种用于胶囊式内窥镜体外导航的磁体万向旋转装置
授权日:
1900-01-01
公开(公告)号:
CN107374572A
申请日:
2017-07-05
公开(公告)日:
2017-11-24
当前申请(专利权)人:
上海楠青自动化科技有限公司
发明人:
栾楠 | 张海青 | 邓珊 | 王内
简单同族:
CN107374572A
简单同族成员数量:
1
简单同族被引用专利总数:
0
诉讼案件数:
0
法律状态/事件:
实质审查