首页
专利数据库
产业人才
行业动态
产业政策法规
维权援助
个人中心
登录/注册
详情
文本
图像
标题:
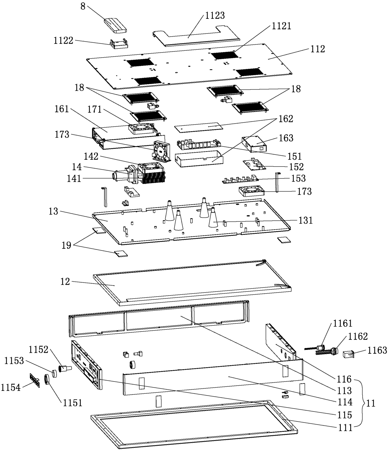
新型医用内窥镜一体机主机
授权日:
2015-11-18
公开(公告)号:
CN204765539U
申请日:
2015-06-30
公开(公告)日:
2015-11-18
当前申请(专利权)人:
广东实联医疗器械有限公司
发明人:
陈锦棋
简单同族:
CN204765539U
简单同族成员数量:
1
简单同族被引用专利总数:
0
诉讼案件数:
0
法律状态/事件:
授权