首页
专利数据库
产业人才
行业动态
产业政策法规
维权援助
个人中心
登录/注册
详情
文本
图像
标题:
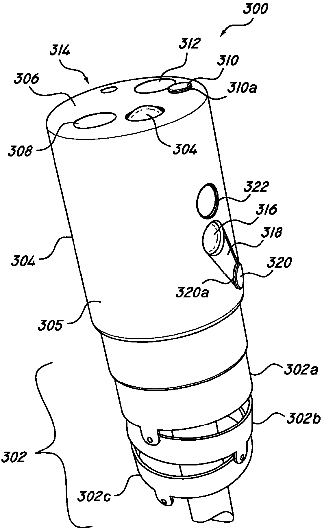
多照相机内窥镜
授权日:
1900-01-01
公开(公告)号:
CN103702604A
申请日:
2012-07-26
公开(公告)日:
2014-04-02
当前申请(专利权)人:
恩多卓斯创新中心有限公司
发明人:
阿维·列维
简单同族:
CN103702604A | EP2736400A1 | EP2736400A4 | JP2014524819A | US10638922 | US20120053407A1 | US20160015257A1 | US20170325672A1 | US9101268 | US9706905 | WO2013014673A1
简单同族成员数量:
11
简单同族被引用专利总数:
148
诉讼案件数:
0
法律状态/事件:
撤回