标题:
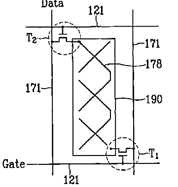
液晶表示装置及び薄膜トランジスタ表示板
授权日:
1900-01-01
公开(公告)号:
JP2005519327A
申请日:
2003-03-07
公开(公告)日:
2005-06-30
当前申请(专利权)人:
サムスン エレクトロニクス カンパニー リミテッド
发明人:
リ,ベク-ウォン | キム,ヒ-ソブ | ホン,スン-キュ | シン,キュン-ジュ | ヤン,ヨン-チョル
简单同族:
AU2003212686A1 | AU2003212686A8 | JP2005519327A | JP4241391B2 | KR100870005B1 | KR1020030072859A | TW200304229A | TWI290767B | US20060164565A1 | US7154569 | WO2003075077A2 | WO2003075077A3
简单同族成员数量:
12
简单同族被引用专利总数:
74
诉讼案件数:
0
法律状态/事件:
授权 | 权利转移