首页
专利数据库
产业人才
行业动态
产业政策法规
维权援助
个人中心
登录/注册
详情
文本
图像
标题:
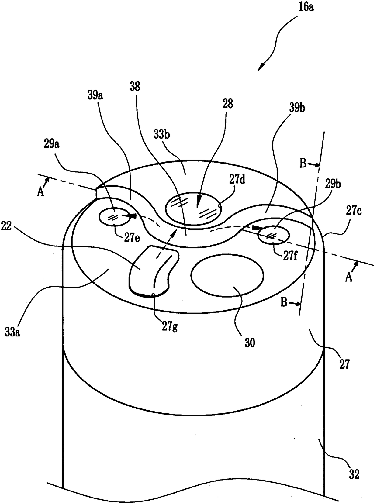
内窥镜
授权日:
1900-01-01
公开(公告)号:
CN102652663A
申请日:
2012-02-22
公开(公告)日:
2012-09-05
当前申请(专利权)人:
富士胶片株式会社
发明人:
池田利幸 | 大木友博
简单同族:
CN102652663A | CN102652663B | CN103549936A | CN103549936B | EP2494909A1 | EP2494909B1 | EP2689714A1 | JP2012179221A | JP5261518B2 | US10441151 | US20120226104A1 | US20140058204A1 | US20170049308A1 | US20200000330A1 | US8777845 | US9521948
简单同族成员数量:
16
简单同族被引用专利总数:
41
诉讼案件数:
0
法律状态/事件:
授权