首页
专利数据库
产业人才
行业动态
产业政策法规
维权援助
个人中心
登录/注册
详情
文本
图像
标题:
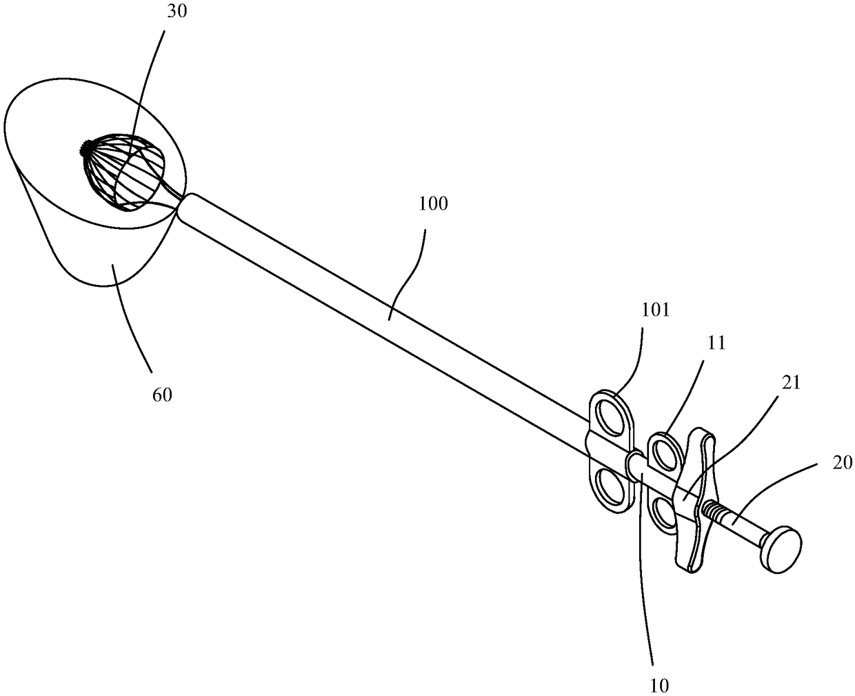
配合腹腔镜使用的肿瘤破碎器
授权日:
1900-01-01
公开(公告)号:
CN108498138A
申请日:
2018-04-25
公开(公告)日:
2018-09-07
当前申请(专利权)人:
上海宇度医学科技股份有限公司
发明人:
陈晓军 | 杨翔 | 郝进争 | 吕斌 | 李杨
简单同族:
CN108498138A
简单同族成员数量:
1
简单同族被引用专利总数:
0
诉讼案件数:
0
法律状态/事件:
实质审查