首页
专利数据库
产业人才
行业动态
产业政策法规
维权援助
个人中心
登录/注册
详情
文本
图像
标题:
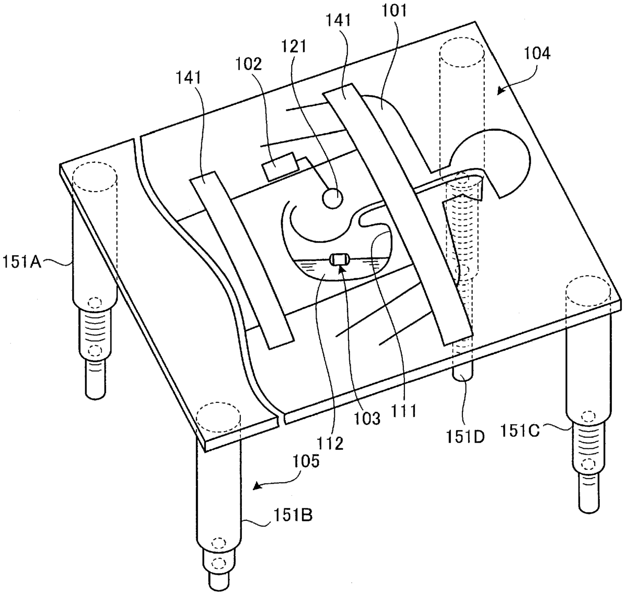
胶囊型内窥镜
授权日:
2016-08-10
公开(公告)号:
CN103356153B
申请日:
2007-09-11
公开(公告)日:
2016-08-10
当前申请(专利权)人:
奥林巴斯株式会社
发明人:
藤田学
简单同族:
CN101516249A | CN101516249B | CN102178506A | CN103356153A | CN103356153B | EP2062522A1 | EP2062522A4 | JP2012228532A | JP5132564B2 | JP5506869B2 | JPWO2008032713A1 | US20090171146A1 | US20130190564A1 | US8419614 | WO2008032713A1
简单同族成员数量:
15
简单同族被引用专利总数:
57
诉讼案件数:
0
法律状态/事件:
授权 | 权利转移