首页
专利数据库
产业人才
行业动态
产业政策法规
维权援助
个人中心
登录/注册
详情
文本
图像
标题:
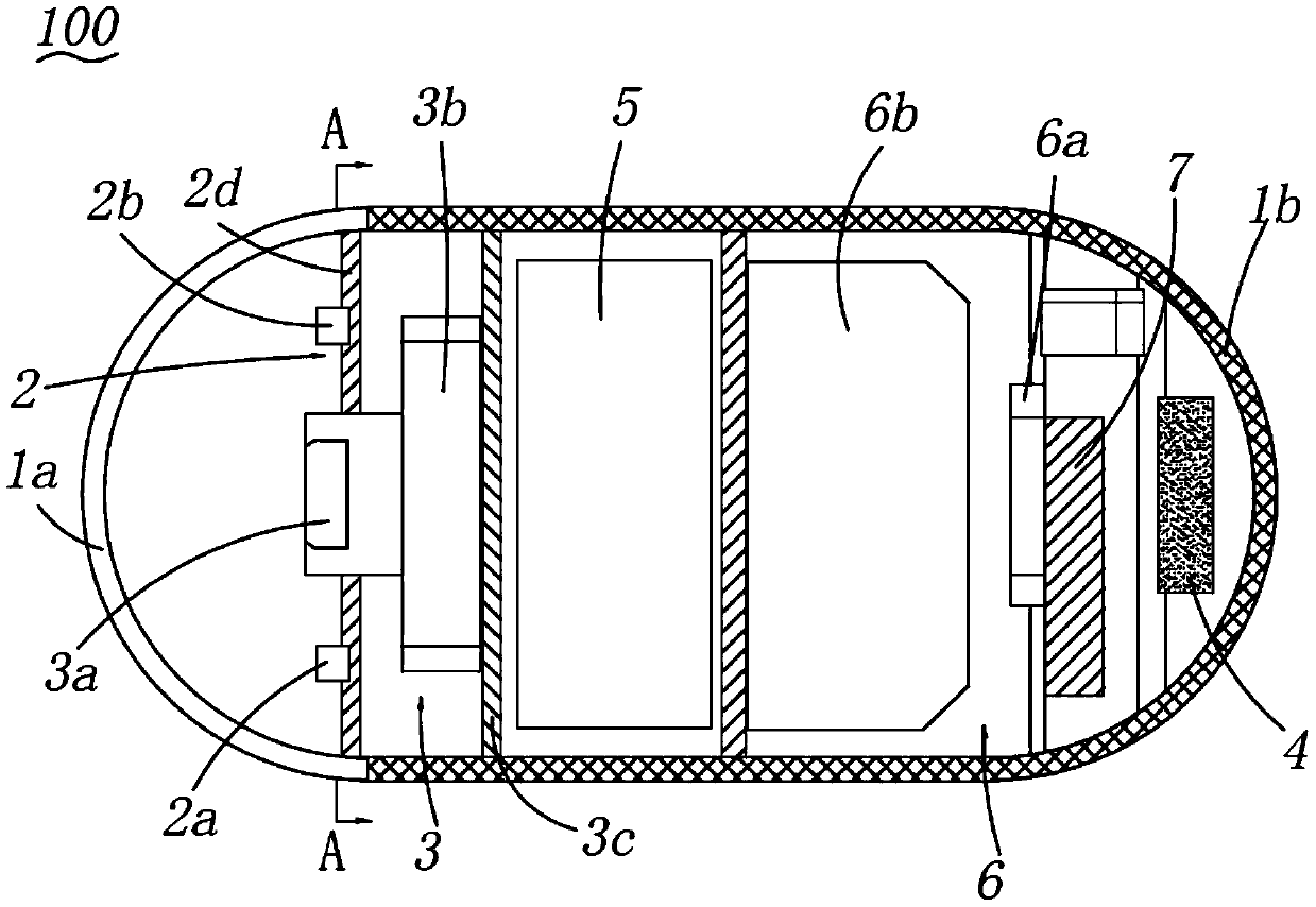
胶囊型内窥镜
授权日:
2020-04-21
公开(公告)号:
CN210354630U
申请日:
2019-04-12
公开(公告)日:
2020-04-21
当前申请(专利权)人:
安翰科技(武汉)股份有限公司
发明人:
明繁华 | 彭航宇 | 王蓉 | 丰波 | 周念琪
简单同族:
CN210354630U
简单同族成员数量:
1
简单同族被引用专利总数:
0
诉讼案件数:
0
法律状态/事件:
授权