首页
专利数据库
产业人才
行业动态
产业政策法规
维权援助
个人中心
登录/注册
详情
文本
图像
标题:
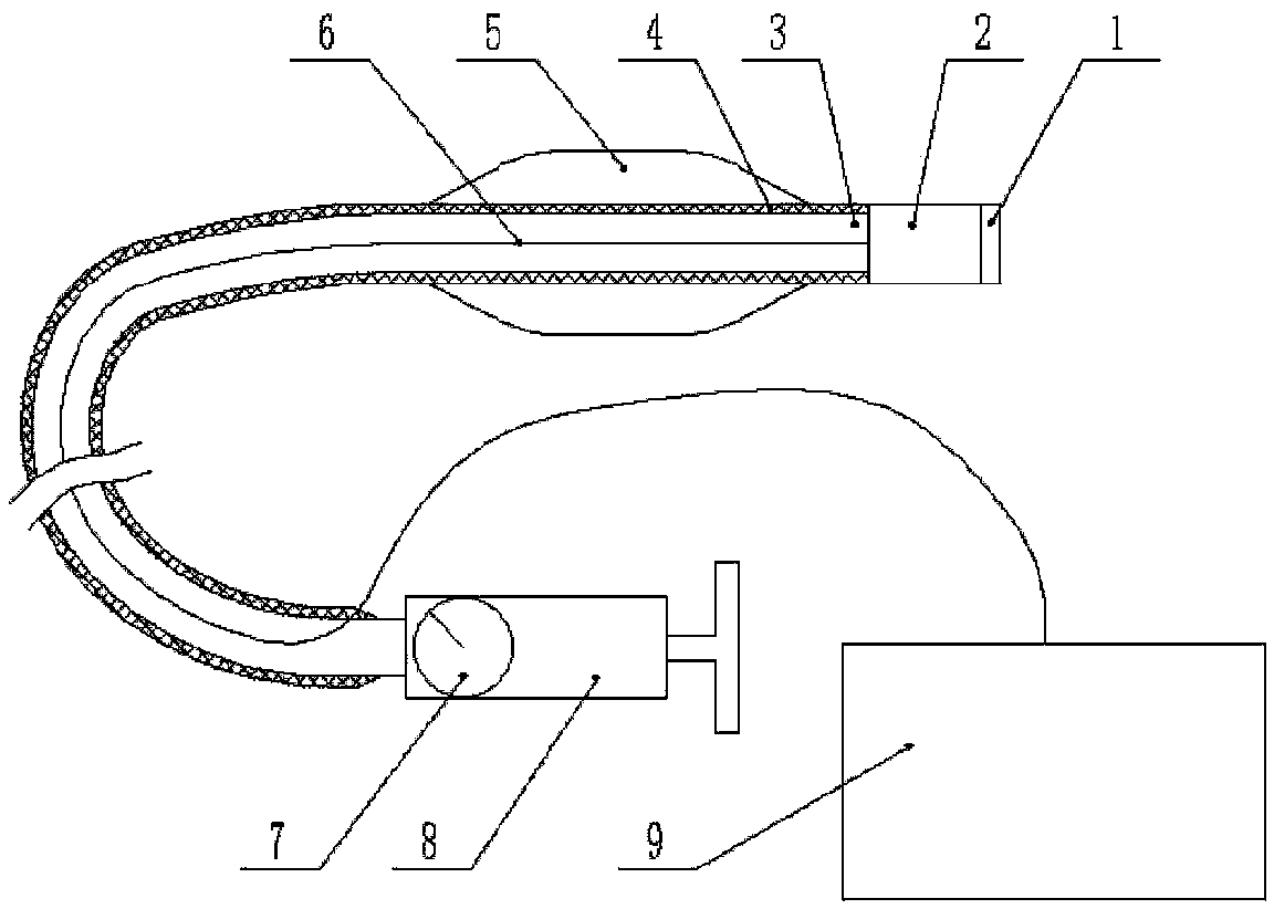
一种带有球囊的胃肠用电子内窥镜
授权日:
2016-04-27
公开(公告)号:
CN205181300U
申请日:
2015-12-21
公开(公告)日:
2016-04-27
当前申请(专利权)人:
新乡医学院第三附属医院
发明人:
顾世玉 | 焦军杰 | 宋琳琳 | 路德荣
简单同族:
CN205181300U
简单同族成员数量:
1
简单同族被引用专利总数:
0
诉讼案件数:
0
法律状态/事件:
未缴年费